We are Peel and Protect

We have a patented product that allows builders to reduce time setting up temporary barriers

The Invention

The Idea

We invented a plastic adhesive barrier solution that minimizes the need to reapply temporary barriers on construction jobs and reduces the costs associated reapplying, creating happier customers for contractors

The Benefits

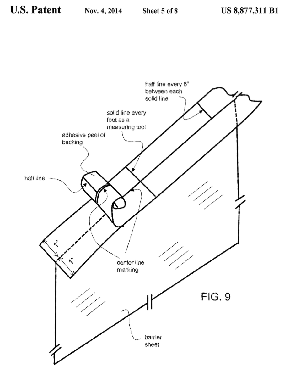
  • Preattached t-shaped flap assembly provides double the strength of other barriers on the market

  • Product comes rolled for simple packaging and easy application

  • Barrier adhesive is pre-measured in 6 and 12 inch increments reducing the need to measure

  • Eliminates the need for zip wall poles, stapling, and repeated taping

  • A variety of adhesive strength and plastic thickness can be used

  • Additional uses include party barriers, safety barriers, security perimeters

“I’m constantly reappyling barriers because the tape isn’t strong enough to withstand wear and tear.”

General Contractor, San Clemente, CA

What we hear from contractors

“Estimation for jobs includes extra time and costs to reapply plastic sheeting.”

Painter, Huntington Beach, CA

“My customers complain that my crew is not applying plastic sheeting well.”

General Contractor, San Diego, CA